全自动垃圾处理两栖船

来源: 发布时间:2022-11-06 浏览次数:1035
基本信息

第一作者姓名:陈毅

性别:男

民族:汉族

第一作者学校:恩施市中等职业技术学校

第一作者人所在年级:高一

第一作者人所在年级:

性别:

民族:

第二作者人所在学校:

第二作者人所在年级:

辅导教师姓名:赵玲


作品摘要

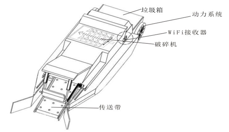
*结构组成:

1:船身由工用塑料为外壳,船体结构用的材料主要是碳素钢和低合金高强度钢。

2:动力系统包括二氧化碳转换器、太阳能、蓄电池,导线,电动机,齿轮、螺旋桨、升降机、防滑轮胎一系列动力装置。

3:船的内部还带有一条传输带和小型搅碎机与压缩机和推进器 信息传递与收集系统由WIFI;毫米波雷达、GPS一系列网络系统。

*主要特征:

行驶速度快,打捞面积广,可有效的收集水面垃圾、树枝、杂草等漂浮物 一般的人工清洁打捞费时又费力,这个水面清洁船可以使工作效率大幅度提升,只需要在电脑上设定路线和工作区,船便能够自动完成打捞、搜集、运输上岸,返回工作区一系列全套工序。 船的燃料主要采用了二氧化碳转换为能量储存在蓄电池内和太阳能能源,二者轮换使用,使之更加环保 。

*主要用途:

它主要用于干渠、湖泊、河流、水渠、人造景观水域等水域的水面垃圾清理、水葫芦收集、水草收集等,用途广、适航区域广、操纵灵活方便、工作效率性高。适用于河道、公园、电站旅游景点等等浅水域地区,它不但可以清除水面漂浮垃圾,还可以清除水面的杂草,达到高效、完美的效果。

*创新点:

垃圾在进入船身后会被传送带传到破碎机处,破碎后压缩机会将垃圾压缩成小块状;垃圾处理船采用的是自动运行,操控系统会将湖泊转换为网络格,每个船会在自己的工作区运作,当垃圾到达最大限度后,会自动到垃圾池卸下,卸完后又继续工作,完全的自动化工作;船的动力源是二氧化碳转换能量和太阳能,二者轮换使用,当一种能源在使用时,另一种能源会进行存储,两种能源的使用增加了工作时间 。


作品说明

*创意设想:

*提出的问题和要解决的问题:

问题:能否有一个垃圾储备容量大、动力能源环保、全自动化程度高、工作时间长的垃圾两栖处理船。

解决问题:将垃圾粉碎后碾压成小块状,从而节省空间;能源方面采用二氧化碳能源和太阳能能源,二者的轮换使用不但使之更加环保,还大大增加了工作时间;在船内安装网络控制系统,在电脑上设定好程序后,船就会投入工作,不再需要人工干预。

研究问题的原因和意义:

一天早晨我真刷着手机,看到了一幅图片,河面上漂浮的垃圾,垃圾堆积过多而产生的污害气候的物质,于是就产生了这种想法,经过查询发现现在市场上的垃圾处理机器都存在着各种各样的问题,比如自动化程度不高、储存量小等等。于是我便想着有没有能够造出一条功能齐全、环保的垃圾处理两栖船;这样的垃圾处理船不但可以改善环境和气候,还可以提高当地居民的幸福感和旅游产业。

*实现构思:

利用碳素钢和低合金高强度刚制造出船的主体框架,再利用工用塑料在船的外表实行包装,再在船的内部安装动力系统的设备。在船的相应位置安装毫米波雷达、GPS等信号接收和环境识别系统。传送带、破碎机、压缩机、推送器安装在一条工作链上,再在船的内部安装相关的通信和电路系统,最后安装升降轮胎。

*科学原理:

垃圾进行雷达识别确认为垃圾后会被传送进船仓的内部(河里的鱼如果被传送进来会被机器识别,并从船内专门设置的通道出去),到达船的内部后会被输送带输送到破碎机处,垃圾经过破碎后会被压缩机碾压成小方块,再由推进器推送到相应的垃圾存储处,小方块会被自动堆放好从而节省空间,垃圾满后会自动沿着设定好的路线到达垃圾处理地点,然后降下轮胎,沿着规定好的路线倾倒垃圾。干净后又会沿着来时路线继续返回工作。

*优点:

高度的自动化程序,无需人工操作;存储容量多、垃圾收集处理一体化;工作效率高不会使垃圾堆积,从而污害气候的气体与物质;大幅度提高工作效率;操控性、活动性高;船体易于保养,对当地的居民幸福度和旅游产业有所帮助。


创意图片